Каталог заданий.
Анализ графиков
Версия для печати и копирования в MS Word
1
Тип Д12 B23 № 2406
i

Шарик уро­ни­ли в воду с не­ко­то­рой вы­со­ты. На ри­сун­ке по­ка­зан гра­фик из­ме­не­ния ко­ор­ди­на­ты ша­ри­ка с те­че­ни­ем вре­ме­ни.

Со­глас­но гра­фи­ку

 

1)  шарик все время дви­гал­ся с по­сто­ян­ным уско­ре­ни­ем

2)  уско­ре­ние ша­ри­ка уве­ли­чи­ва­лось в те­че­ние всего вре­ме­ни дви­же­ния

3)  пер­вые 3 с шарик дви­гал­ся с по­сто­ян­ной ско­ро­стью

4)  после 3 с шарик дви­гал­ся с по­сто­ян­ной ско­ро­стью


Ответ:

2
Тип Д12 B23 № 2420
i

Шарик ка­тит­ся по же­ло­бу. Из­ме­не­ние ко­ор­ди­на­ты ша­ри­ка с те­че­ни­ем вре­ме­ни в инер­ци­аль­ной си­сте­ме от­сче­та по­ка­за­но на гра­фи­ке. На ос­но­ва­нии этого гра­фи­ка можно уве­рен­но утвер­ждать, что

 

1)  ско­рость ша­ри­ка по­сто­ян­но уве­ли­чи­ва­лась

2)  пер­вые 2 с ско­рость ша­ри­ка воз­рас­та­ла, а затем оста­ва­лась по­сто­ян­ной

3)  пер­вые 2 с шарик дви­гал­ся с умень­ша­ю­щей­ся ско­ро­стью, а затем по­ко­ил­ся

4)  на шарик дей­ство­ва­ла все уве­ли­чи­ва­ю­ща­я­ся сила


Ответ:

3
Тип Д12 B23 № 2506
i

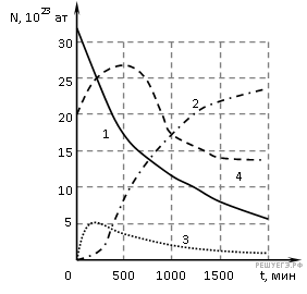
Пла­ти­на _78 в сте­пе­ни левая круг­лая скоб­ка 200 пра­вая круг­лая скоб­ка Pt в ре­зуль­та­те од­но­го  бета -рас­па­да пе­ре­хо­дит в ра­дио­ак­тив­ный изо­топ зо­ло­та _79 в сте­пе­ни левая круг­лая скоб­ка 200 пра­вая круг­лая скоб­ка Au, ко­то­рый затем пре­вра­ща­ет­ся в ста­биль­ный изо­топ ртути _80 в сте­пе­ни левая круг­лая скоб­ка 200 пра­вая круг­лая скоб­ка Hg. На ри­сун­ках при­ве­де­ны гра­фи­ки из­ме­не­ния числа ато­мов с те­че­ни­ем вре­ме­ни в за­кры­том со­су­де.

Какой из гра­фи­ков может от­но­сить­ся к изо­то­пу _79 в сте­пе­ни левая круг­лая скоб­ка 200 пра­вая круг­лая скоб­ка Au?

 

1)  1

2)  2

3)  3

4)  4


Ответ:

4
Тип Д12 B23 № 2507
i

Пе­ри­од малых вер­ти­каль­ных ко­ле­ба­ний груза мас­сой m, под­ве­шен­но­го на ре­зи­но­вом жгуте, равен T_0. За­ви­си­мость силы упру­го­сти ре­зи­но­во­го жгута F от удли­не­ния х изоб­ра­же­на на гра­фи­ке.

Пе­ри­од Т малых вер­ти­каль­ных ко­ле­ба­ний груза мас­сой 4m на этом жгуте удо­вле­тво­ря­ет со­от­но­ше­нию

 

1)  T боль­ше 2T_0

2)  T=2T_0

3)  T=T_0

4)  T мень­ше 0,5T_0


Ответ:

5
Тип Д12 B23 № 2515
i

На ри­сун­ке изоб­ра­жен гра­фик за­ви­си­мо­сти ко­ор­ди­на­ты бу­син­ки, сво­бод­но сколь­зя­щей по го­ри­зон­таль­ной спице, от вре­ме­ни. На ос­но­ва­нии гра­фи­ка можно утвер­ждать, что

 

1)  на участ­ке 1 дви­же­ние яв­ля­ет­ся рав­но­мер­ным, а на участ­ке 2  — рав­но­уско­рен­ным

2)  про­ек­ция уско­ре­ния бу­син­ки всюду уве­ли­чи­ва­ет­ся

3)  на участ­ке 2 про­ек­ция уско­ре­ния бу­син­ки по­ло­жи­тель­на

4)  на участ­ке 1 бу­син­ка по­ко­ит­ся, а на участ­ке 2  — дви­жет­ся рав­но­мер­но


Ответ:

6
Тип Д12 B23 № 3251
i

При про­ве­де­нии экс­пе­ри­мен­та ис­сле­до­ва­лась за­ви­си­мость прой­ден-⁠ного телом пути S от вре­ме­ни t. Гра­фик по­лу­чен­ной за­ви­си­мо­сти при­ве­ден на ри­сун­ке. Этим дан­ным не про­ти­во­ре­чит утвер­жде­ние, что

 

А)  Ско­рость тела равна 6 м/с.

Б)  Уско­ре­ние тела равно 2м/с в квад­ра­те

 

1)  ни А, ни Б

2)  и А, и Б

3)  толь­ко А

4)  толь­ко Б


Ответ:

7
Тип Д12 B23 № 3252
i

При про­ве­де­нии экс­пе­ри­мен­та ис­сле­до­ва­лась за­ви­си­мость прой­ден­но­го телом пути S от вре­ме­ни t. Гра­фик по­лу­чен­ной за­ви­си­мо­сти при­ве­ден на ри­сун­ке­Этим дан­ным не про­ти­во­ре­чит утвер­жде­ние, что

 

А)  Ско­рость тела равна б м/с.

Б)  Уско­ре­ние тела равно 2м/с в квад­ра­те

 

1)  ни А, ни Б

2)  и А, и Б

3)  толь­ко А

4)  толь­ко Б


Ответ:

8
Тип Д12 B23 № 3316
i

На ри­сун­ке изоб­ра­жен гра­фик за­ви­си­мо­сти ко­ор­ди­на­ты бу­син­ки сво­бод­но сколь­зя­щей по го­ри­зон­таль­ной спице, от вре­ме­ни. На ос­но­ва­нии гра­фи­ка можно утвер­ждать, что

 

1)  на участ­ке 1 бу­син­ка дви­жет­ся рав­но­мер­но, а на участ­ке 2 бу­син­ка по­ко­ит­ся

2)  на участ­ке 1 бу­син­ка дви­жет­ся рав­но­уско­рен­но, а на участ­ке 2 бу­син­ка по­ко­ит­ся

3)  на участ­ке 1 про­ек­ция уско­ре­ния бу­син­ки от­ри­ца­тель­на

4)  про­ек­ция уско­ре­ния бу­син­ки на участ­ке 2 мень­ше, чем на участ­ке 1


Ответ:

9
Тип Д12 B23 № 3348
i

Бу­син­ка сколь­зит по не­по­движ­ной го­ри­зон­таль­ной спице. На гра­фи­ке изоб­ра­же­на за­ви­си­мость ко­ор­ди­на­ты бу­син­ки от вре­ме­ни. Ось Ох па­рал­лель­на спице. На ос­но­ва­нии гра­фи­ка можно утвер­ждать, что

 

1)  на участ­ке 1 мо­дуль ско­ро­сти умень­ша­ет­ся, а на участ­ке 2  — уве­ли­чи­ва­ет­ся

2)  на участ­ке 1 мо­дуль ско­ро­сти уве­ли­чи­ва­ет­ся, а на участ­ке 2  — умень­ша­ет­ся

3)  на участ­ке 2 про­ек­ция уско­ре­ния ах бу­син­ки по-⁠ло­жи­тель­на

4)  на участ­ке 1 мо­дуль ско­ро­сти умень­ша­ет­ся, а на участ­ке 2  — оста­ет­ся не­из­мен­ным


Ответ:

10
Тип Д12 B23 № 3399
i

На че­ты­рех гра­фи­ках точ­ка­ми от­ме­че­ны ре­зуль­та­ты из­ме­ре­ний массы жид­ко­сти в за­ви­си­мо­сти от ее объ­е­ма. По­греш­ность из­ме­ре­ний массы  — 2,5 г, объ­е­ма  — 5 мл. Какой из гра­фи­ков про­ве­ден пра­виль­но с уче­том всех ре­зуль­та­тов из­ме­ре­ний и их по­греш­но­стей?

 

1)  гра­фик I

2)  гра­фик II

3)  гра­фик III

4)  гра­фик IV


Ответ:

11
Тип Д12 B23 № 3400
i

Изу­ча­лась за­ви­си­мость тем­пе­ра­ту­ры тела от вре­ме­ни его на­гре­ва­ния. На ри­сун­ке точ­ка­ми ука­за­ны ре­зуль­та­ты из­ме­ре­ний. По­греш­ность из­ме­ре­ния тем­пе­ра­ту­ры равна 10°, вре­ме­ни  — 30 се­кунд. Какой из гра­фи­ков про­ве­ден пра­виль­но по этим точ­кам?

 

1.  А

2.  Б

3.  В

4.  Г


Ответ:

12
Тип Д12 B23 № 3404
i

При­сту­пив к изу­че­нию ме­ха­ни­ки, уче­ник пред­по­ло­жил, что мо­дуль силы тре­ния сколь­же­ния F брус­ка о го­ри­зон­таль­ную по­верх­ность стола прямо про­пор­ци­о­на­лен мо­ду­лю силы тя­же­сти F_T брус­ка. Эту ги­по­те­зу он решил про­ве­рить экс­пе­ри­мен­таль­но. По­ло­жив на го­ри­зон­таль­ную по­верх­ность стола де­ре­вян­ный бру­сок с раз­ны­ми гру­за­ми, уче­ник рав­но­мер­но тянул его, из­ме­ряя силу F ди­на­мо­мет­ром. Ре­зуль­та­ты из­ме­ре­ний зна­че­ний F при раз­ных зна­че­ни­ях силы тя­же­сти брус­ка с гру­за­ми от­ме­че­ны на ко­ор­ди­нат­ной плос­ко­сти {F_T, F} с уче­том по­греш­но­сти из­ме­ре­ний. Какой вывод сле­ду­ет из ре­зуль­та­тов экс­пе­ри­мен­та?

 

1)  усло­вия про­ве­де­ния экс­пе­ри­мен­та не со­от­вет­ству­ют про­ве­ря­е­мой ги­по­те­зе

2)  с уче­том по­греш­но­сти из­ме­ре­ний экс­пе­ри­мент под­твер­дил пра­виль­ность ги­по­те­зы

3)  по­греш­но­сти цз­ме­ре­ний на­столь­ко ве­ли­ки, что не поз­во­ли­ли про­ве­рить ги­по­те­зу

4)  ко­эф­фи­ци­ент тре­ния сколь­же­ния ме­нял­ся при из­ме­не­нии массы брус­ка с гру­за­ми


Ответ:

13
Тип Д12 B23 № 3405
i

На ри­сун­ке изоб­ра­жен гра­фик за­ви­си­мо­сти ко­ор­ди­на­ты бу­син­ки, сво­бод­но сколь­зя­щей по го­ри­зон­таль­ной спице, от вре­ме­ни. На ос­но­ва­нии гра­фи­ка можно утвер­ждать, что

 

1)  на участ­ке 1 бу­син­ка дви­жет­ся рав­но­мер­но, а на участ­ке 2 бу­син­ка по­ко­ит­ся

2)  на участ­ке 1 бу­син­ка дви­жет­ся рав­но­уско­рен­но, а на участ­ке 2 мерно

3)  на участ­ке 1 про­ек­ция уско­ре­ния бу­син­ки от­ри­ца­тель­на

4)  про­ек­ция уско­ре­ния бу­син­ки на участ­ке 2 мень­ше, чем на участ­ке 1


Ответ:

14
Тип Д12 B23 № 3482
i

На ри­сун­ке точ­ка­ми от­ме­че­ны ре­зуль­та­ты из­ме­ре­ния тем­пе­ра­ту­ры t осты­ва­ю­щей воды в раз­ные мо­мен­ты вре­ме­ни \tau. Какой из гра­фи­ков за­ви­си­мо­сти тем­пе­ра­ту­ры от вре­ме­ни  — 1, 2, 3, или 4  — по­стро­ен по этим точ­кам наи­бо­лее точно?

 

1)  1

2)  2

3)  3

4)  4


Ответ:

15
Тип Д12 B23 № 3484
i

На ри­сун­ке точ­ка­ми от­ме­че­ны ре­зуль­та­ты из­ме­ре­ния тем­пе­ра­ту­ры осты­ва­ю­щей воды. Какой из гра­фи­ков за­ви­си­мо­сти тем­пе­ра­ту­ры от вре­ме­ни  — 1, 2, 3, или 4  — про­ве­ден по этим точ­кам пра­виль­но?

 

1)  1

2)  2

3)  3

4)  4


Ответ:

16
Тип Д12 B23 № 3568
i

На ри­сун­ке точ­ка­ми от­ме­че­ны ре­зуль­та­ты из­ме­ре­ний тем­пе­ра­ту­ры тела и ко­ли­че­ства теп­ло­ты, под­ве­ден­но­го к нему. Какой из гра­фи­ков  —  1, 2, 3 или 4,  —  по­стро­ен по этим точ­кам наи­бо­лее точно? Счи­тать, что в про­цес­се на­гре­ва­ния тела не про­ис­хо­дит из­ме­не­ния аг­ре­гат­но­го со­сто­я­ния ве­ще­ства.

 

1)  1

2)  2

3)  3

4)  4


Ответ:

17
Тип Д12 B23 № 3755
i

Для изу­че­ния силы упру­го­сти уче­ник ис­поль­зо­вал пру­жи­ну, ли­ней­ку, шта­тив и набор оди­на­ко­вых гру­зов мас­сой  m = 10 г каж­дый. Под­ве­сив пру­жи­ну к шта­ти­ву за один из кон­цов и при­креп­ляя к сво­бод­но­му концу пру­жи­ны грузы, он из­ме­рял длину  l пру­жи­ны. В ре­зуль­та­те этого экс­пе­ри­мен­та им был по­стро­ен гра­фик за­ви­си­мо­сти массы при­креп­лен­ных гру­зов от длины пру­жи­ны.

Какое(-ие) из утвер­жде­ний со­от­вет­ству­ет(-ют) ре­зуль­та­там этого опыта?

А.  Пря­мая про­пор­ци­о­наль­ность между удли­не­ни­ем пру­жи­ны и при­ло­жен­ной к ней силой, опи­сы­ва­е­мая за­ко­ном Гука, спра­вед­ли­ва толь­ко при малых де­фор­ма­ци­ях пру­жи­ны.

Б.  Для де­фор­ма­ций, под­чи­ня­ю­щих­ся за­ко­ну Гука, ко­эф­фи­ци­ент жест­ко­сти пру­жи­ны при­бли­зи­тель­но равен 50 Н/м.

 

1)  толь­ко А

2)  толь­ко Б

3)  и А, и Б

4)  ни А, ни Б


Ответ:

18
Тип Д12 B23 № 3887
i

В элек­тро­ли­ти­че­ской ванне про­ис­хо­дит по­кры­тие пла­стин­ки слоем не­ко­то­ро­го ве­ще­ства. Ис­поль­зуя при­ве­ден­ный гра­фик за­ви­си­мо­сти массы m вы­де­ля­ю­ще­го­ся ве­ще­ства от вре­ме­ни t, опре­де­ли­те ско­рость воз­рас­та­ния массы пла­стин­ки.

 

1)  1 г/м

2)  2 г/час

3)  3 г/час

4)  2 г/мин


Ответ:

19
Тип Д12 B23 № 4357
i

Олово мас­сой 200г с на­чаль­ной тем­пе­ра­ту­рой 0 °C на­гре­ва­ют в тигле на элек­тро­пе­чи мощ­но­стью 23 Вт. На ри­сун­ке при­ве­ден экс­пе­ри­мен­таль­но по­лу­чен­ный гра­фик за­ви­си­мо­сти тем­пе­ра­ту­ры T олова от вре­ме­ни t. Счи­тая, что вся теп­ло­та, по­сту­па­ю­щая от элек­тро­пе­чи, идет на на­грев олова, опре­де­ли­те его удель­ную теп­ло­ем­кость.

 

1)  230 Дж/(кг °С)

2)  57,5 Дж/(кг °С)

3)  2 Дж/(кг °С)

4)  0,23 Дж/(кг °С)


Ответ:

20
Тип Д12 B23 № 4429
i

К ис­точ­ни­ку тока под­клю­че­ны рео­стат, ам­пер­метр и вольт­метр (ри­су­нок 1). При из­ме­не­нии по­ло­же­ния пол­зун­ка рео­ста­та в ре­зуль­та­те на­блю­де­ния за при­бо­ра­ми были по­лу­че­ны за­ви­си­мо­сти, изоб­ра­жен­ные на ри­сун­ках 2 и 3 (R  — со­про­тив­ле­ние вклю­чен­ной в цепь части рео­ста­та).

рис. 1

рис. 2

рис. 3

Вы­бе­ри­те вер­ное(-е) утвер­жде­ние(-я), если та­ко­вое(-е) име­ет­ся(-ются).

 

А.  Внут­рен­нее со­про­тив­ле­ние ис­точ­ни­ка тока равно 2 Ом.

Б.  ЭДС ис­точ­ни­ка тока равна 30 мВ.

 

1)  толь­ко А

2)  толь­ко Б

3)  и А, и Б

4)  ни А, ни Б


Ответ:

21
Тип Д12 B23 № 4499
i

На рТ—диа­грам­ме отоб­ра­же­на по­сле­до­ва­тель­ность трех про­цес­сов (1 → 2 → 3) из­ме­не­ния со­сто­я­ния 2 моль иде­аль­но­го газа. Ка­ко­ва эта по­сле­до­ва­тель­ность про­цес­сов в газе?

 

1)  сжа­тие → на­гре­ва­ние → охла­жде­ние

2)  на­гре­ва­ние → рас­ши­ре­ние при по­сто­ян­ной тем­пе­ра­ту­ре → сжа­тие

3)  охла­жде­ние → рас­ши­ре­ние при по­сто­ян­ной тем­пе­ра­ту­ре → сжа­тие

4)  рас­ши­ре­ние → на­гре­ва­ние → охла­жде­ние


Ответ:

22
Тип Д12 B23 № 4674
i

На рT–диа­грам­ме отоб­ра­же­на по­сле­до­ва­тель­ность трех про­цес­сов (1 → 2 → 3) из­ме­не­ния со­сто­я­ния 2 моль иде­аль­но­го газа. Ка­ко­ва эта по­сле­до­ва­тель­ность про­цес­сов в газе?

 

1)  рас­ши­ре­ние → охла­жде­ние → рас­ши­ре­ние при по­сто­ян­ном тем­пе­ра­ту­ре

2)  рас­ши­ре­ние → охла­жде­ние → сжа­тие при по­сто­ян­ном тем­пе­ра­ту­ре

3)  сжа­тие → на­гре­ва­ние → охла­жде­ние

4)  на­гре­ва­ние → рас­ши­ре­ние → сжа­тие


Ответ:

23
Тип Д12 B23 № 4744
i

Уче­ник ис­сле­до­вал дви­же­ние ша­ри­ка, сбро­шен­но­го го­ри­зон­таль­но со стола. Для этого он из­ме­рил ко­ор­ди­на­ты ле­тя­ще­го ша­ри­ка в раз­ные мо­мен­ты вре­ме­ни его дви­же­ния и за­пол­нил таб­ли­цу:

 

t, c00,050,10,150,2
x, см05,513,517,524
y, см01,54,511,520

 

По­греш­ность из­ме­ре­ния ко­ор­ди­нат равна 1 см, а про­ме­жут­ков вре­ме­ни  — 0,01 с. На каком из гра­фи­ков верно пред­став­ле­на наи­бо­лее ве­ро­ят­ная тра­ек­то­рия дви­же­ния ша­ри­ка?


Ответ:

24
Тип Д12 B23 № 4779
i

Уче­ник ис­сле­до­вал дви­же­ние ша­ри­ка, сбро­шен­но­го го­ри­зон­таль­но со стола. Для этого он из­ме­рил ко­ор­ди­на­ты ле­тя­ще­го ша­ри­ка в раз­ные мо­мен­ты вре­ме­ни его дви­же­ния и за­пол­нил таб­ли­цу:

 

t, c00,050,10,150,2
x, см05,513,517,524
y, см01,54,511,520

 

По­греш­ность из­ме­ре­ния ко­ор­ди­нат равна 1 см, а про­ме­жут­ков вре­ме­ни  — 0,01 с. На каком из гра­фи­ков верно по­стро­е­на за­ви­си­мость ко­ор­ди­на­ты у ша­ри­ка от вре­ме­ни t?


Ответ:

25
Тип Д12 B23 № 4814
i

Уче­ник ис­сле­до­вал дви­же­ние ша­ри­ка, сбро­шен­но­го го­ри­зон­таль­но со стола. Для этого он из­ме­рил ко­ор­ди­на­ты ле­тя­ще­го ша­ри­ка в раз­ные мо­мен­ты вре­ме­ни его дви­же­ния и за­пол­нил таб­ли­цу:

 

t, c00,050,10,150,2
x, см05,513,517,524
y, см01,54,511,520

 

По­греш­ность из­ме­ре­ния ко­ор­ди­нат равна 1 см, а про­ме­жут­ков вре­ме­ни  — 0,01 с. На каком из гра­фи­ков верно по­стро­е­на за­ви­си­мость ко­ор­ди­на­ты x ша­ри­ка от вре­ме­ни t?


Ответ:

26
Тип Д12 B23 № 4884
i

Уче­ник ис­сле­до­вал дви­же­ние ша­ри­ка, сбро­шен­но­го го­ри­зон­таль­но со стола. Для этого он из­ме­рил ко­ор­ди­на­ты ле­тя­ще­го ша­ри­ка в раз­ные мо­мен­ты вре­ме­ни его дви­же­ния и за­пол­нил таб­ли­цу:

 

t, c00,050,10,150,2
x, см011273548
y, см01,54,511,520

 

По­греш­ность из­ме­ре­ния ко­ор­ди­нат равна 1 см, а про­ме­жут­ков вре­ме­ни  — 0,01 с. На каком из гра­фи­ков верно пред­став­ле­на наи­бо­лее ве­ро­ят­ная тра­ек­то­рия дви­же­ния ша­ри­ка?


Ответ:

27
Тип Д12 B23 № 4954
i

На ри­сун­ке при­ве­де­ны гра­фи­ки за­ви­си­мо­сти ко­ор­ди­нат от вре­ме­ни для двух тел: А и В, дви­жу­щих­ся по пря­мой, вдоль ко­то­рой и на­прав­ле­на ось . Вы­бе­ри­те вер­ное(-е) утвер­жде­ние(-я) о ха­рак­те­ре дви­же­ния тел.

 

А.  От мо­мен­та t = 0 до оста­нов­ки тело В про­де­ла­ло путь, рав­ный 25 м.

Б.  В мо­мент вре­ме­ни, рав­ный 2 с, тела А и В встре­ти­лись.

 

1)  толь­ко А

2)  толь­ко Б

3)  и А, и Б

4)  ни А, ни Б


Ответ:

28
Тип Д12 B23 № 5164
i

На ри­сун­ке при­ве­де­ны гра­фи­ки за­ви­си­мо­сти ко­ор­ди­нат от вре­ме­ни для двух тел: А и В, дви­жу­щих­ся по пря­мой, вдоль ко­то­рой и на­прав­ле­на ось . Вы­бе­ри­те вер­ное(-е) утвер­жде­ние(-я) о ха­рак­те­ре дви­же­ния тел.

 

А.  Вре­мен­ной ин­тер­вал между встре­ча­ми тел А и В со­став­ля­ет 6 с.

Б.  Тело А дви­жет­ся со ско­ро­стью 3,0 м/с.

 

1)  толь­ко А

2)  толь­ко Б

3)  и А, и Б

4)  ни А, ни Б


Ответ:

29
Тип Д12 B23 № 5199
i

На ри­сун­ке при­ве­де­ны гра­фи­ки за­ви­си­мо­сти ко­ор­ди­нат от вре­ме­ни для двух тел: А и В, дви­жу­щих­ся по пря­мой, вдоль ко­то­рой и на­прав­ле­на ось . Вы­бе­ри­те вер­ное(-е) утвер­жде­ние(-я) о ха­рак­те­ре дви­же­ния тел.

 

А.  Тело А дви­жет­ся рав­но­уско­рен­но.

Б.  Рас­сто­я­ние между точ­ка­ми встре­чи тел А и В со­став­ля­ет 15 м.

 

1)  толь­ко А

2)  толь­ко Б

3)  и А, и Б

4)  ни А, ни Б


Ответ:

30
Тип Д12 B23 № 5269
i

На ри­сун­ке при­ве­де­ны гра­фи­ки за­ви­си­мо­сти ко­ор­ди­нат от вре­ме­ни для двух тел: А и В, дви­жу­щих­ся по пря­мой, вдоль ко­то­рой и на­прав­ле­на ось . Вы­бе­ри­те вер­ное(-е) утвер­жде­ние(-я) о ха­рак­те­ре дви­же­ния тел.

 

А.  Ин­тер­вал между мо­мен­та­ми про­хож­де­ния телом В на­ча­ла ко­ор­ди­нат со­став­ля­ет 6 с.

Б.  В тот мо­мент, когда тело В оста­но­ви­лось, рас­сто­я­ние от него до тела А со­став­ля­ло 15 м.

 

1)  толь­ко А

2)  толь­ко Б

3)  и А, и Б

4)  ни А, ни Б


Ответ:

31
Тип Д12 B23 № 5374
i

Мас­сив­ный груз, по­ко­я­щий­ся на го­ри­зон­таль­ной опоре, при­вя­зан к лег­кой не­рас­тя­жи­мой ве­рев­ке, пе­ре­ки­ну­той через иде­аль­ный блок. К ве­рев­ке при­кла­ды­ва­ют по­сто­ян­ную силу \vecF, на­прав­лен­ную под углом а = 45 гра­ду­сов к го­ри­зон­ту (см. ри­су­нок). За­ви­си­мость мо­ду­ля уско­ре­ния груза от мо­ду­ля силы \vecF пред­став­ле­на на гра­фи­ке. Чему равна масса груза?

 

1)  0,85 кг

2)  0,42 кг

3)  0,60 кг

4)  6,0 кг


Ответ:

32
Тип Д12 B23 № 5409
i

Мас­сив­ный груз, по­ко­я­щий­ся на го­ри­зон­таль­ной опоре, при­вя­зан к лег­кой не­рас­тя­жи­мой ве­рев­ке, пе­ре­ки­ну­той через иде­аль­ный блок. К ве­рев­ке при­кла­ды­ва­ют по­сто­ян­ную силу \vecF, на­прав­лен­ную под углом  альфа = 30 гра­ду­сов к го­ри­зон­ту (см. ри­су­нок). За­ви­си­мость мо­ду­ля уско­ре­ния груза от мо­ду­ля силы \vecF пред­став­ле­на на гра­фи­ке. Чему равна масса груза?

 

1)  3 кг

2)  0,3 кг

3)  0,6 кг

4)  6 кг


Ответ:

33
Тип Д12 B23 № 5444
i

Мас­сив­ный груз, по­ко­я­щий­ся на го­ри­зон­таль­ной опоре, при­вя­зан к лег­кой не­рас­тя­жи­мой ве­рев­ке, пе­ре­ки­ну­той через иде­аль­ный блок. К ве­рев­ке при­кла­ды­ва­ют по­сто­ян­ную силу \vecF, на­прав­лен­ную под углом  альфа = 30 гра­ду­сов к го­ри­зон­ту (см. ри­су­нок). За­ви­си­мость мо­ду­ля уско­ре­ния груза от мо­ду­ля силы \vecF пред­став­ле­на на гра­фи­ке. Чему равна масса груза?

 

1)  1,2 кг

2)  0,3 кг

3)  0,6 кг

4)  6 кг


Ответ:

34
Тип Д12 B23 № 5478
i

Изу­ча­лась за­ви­си­мость силы тока через ва­ку­ум­ный диод от на­пря­же­ния между ано­дом и ка­то­дом. На ри­сун­ке точ­ка­ми ука­за­ны ре­зуль­та­ты про­ве­ден­ных из­ме­ре­ний. По­греш­но­сти из­ме­ре­ний силы тока и на­пря­же­ния со­от­вет­ствен­но равны 0,1 А и 0,1 В. Какой из гра­фи­ков по­стро­ен по этим точ­кам пра­виль­но?


Ответ:

35
Тип Д12 B23 № 5514
i

Мас­сив­ный груз, по­ко­я­щий­ся на го­ри­зон­таль­ной опоре, при­вя­зан к лег­кой не­рас­тя­жи­мой ве­рев­ке, пе­ре­ки­ну­той через иде­аль­ный блок. К ве­рев­ке при­кла­ды­ва­ют по­сто­ян­ную силу \vecF, на­прав­лен­ную под углом а = 45 гра­ду­сов к го­ри­зон­ту (см. ри­су­нок). За­ви­си­мость мо­ду­ля уско­ре­ния груза от мо­ду­ля силы \vecF пред­став­ле­на на гра­фи­ке. Чему равна масса груза?

 

1)  3,0 кг

2)  0,42 кг

3)  0,21 кг

4)  0,30 кг


Ответ:

36
Тип Д12 B23 № 5548
i

На ри­сун­ке точ­ка­ми ука­за­ны ре­зуль­та­ты из­ме­ре­ний на­пря­же­ния на кон­ден­са­то­ре при его раз­ря­де через ре­зи­стор в раз­ные мо­мен­ты вре­ме­ни. По­греш­но­сти из­ме­ре­ния этих ве­ли­чин со­от­вет­ствен­но рав­ня­лись 0,3 В и 2 с. Какой из гра­фи­ков пра­виль­но по­стро­ен по этим точ­кам?


Ответ:

37
Тип Д12 B23 № 5733
i

В лег­кий сосуд на­ли­ва­ют 500 г воды и под­ве­ши­ва­ют его к пру­жи­не, при­креп­лен­ной дру­гим кон­цом к по­тол­ку, Затем в дне со­су­да от­кры­ва­ют от­вер­стие, через ко­то­рое вода мед­лен­но вы­те­ка­ет. На ри­сун­ке изоб­ра­жен гра­фик за­ви­си­мо­сти длины l пру­жи­ны от вре­ме­ни t.

Ис­поль­зуя этот гра­фик, опре­де­ли­те жест­кость пру­жи­ны.

 

1)  31,25 H/м

2)  50 H/м

3)  125 H/м

4)  500 H/м


Ответ:

38
Тип Д12 B23 № 6128
i

Один моль иде­аль­но­го од­но­атом­но­го газа участ­ву­ет в не­ко­то­ром про­цес­се, изоб­ра­жен­ном на ри­сун­ке.

При уве­ли­че­нии тем­пе­ра­ту­ры этого газа от 20 °C до 30 °C этим газом

 

1)  было по­лу­че­но ко­ли­че­ство теп­ло­ты, рав­ное \approx 210 Дж

2)  было от­да­но ко­ли­че­ство теп­ло­ты, рав­ное \approx 125 Дж

3)  было по­лу­че­но ко­ли­че­ство теп­ло­ты, рав­ное \approx 165 Дж

4)  было от­да­но ко­ли­че­ство теп­ло­ты, рав­ное \approx 85 Дж


Ответ:

39
Тип Д12 B23 № 6207
i

На гра­фи­ке пред­став­ле­ны ре­зуль­та­ты из­ме­ре­ния длины пру­жи­ны при раз­лич­ных зна­че­ни­ях массы гру­зов, ле­жа­щих в чашке пру­жин­ных весов (см. рис.). С уче­том по­греш­но­стей из­ме­ре­ний (Δm = ±1 г; Δl = ±0,2 см) най­ди­те массу груза на чашке весов, при ко­то­рой длина пру­жи­ны равна 4,5 см.

 

 

1)  30 г

2)  80 г

3)  65 г

4)  50 г


Ответ:

40
Тип Д12 B23 № 6242
i

На гра­фи­ке пред­став­ле­ны ре­зуль­та­ты из­ме­ре­ния длины пру­жи­ны при раз­лич­ных зна­че­ни­ях массы гру­зов, ле­жа­щих в чашке пру­жин­ных весов (см. рис.). С уче­том по­греш­но­стей из­ме­ре­ний (Δm = ±1 г; Δl = ±0,2 см) най­ди­те длину пру­жи­ны, когда на чашке весов лежит груз мас­сой 50 г.

 

 

1)  5,5 см

2)  3,5 см

3)  4,5 см

4)  3 см


Ответ:

41
Тип Д12 B23 № 6279
i

На гра­фи­ке пред­став­ле­ны ре­зуль­та­ты из­ме­ре­ния на­пря­же­ния на кон­цах участ­ка AB цепи по­сто­ян­но­го тока, со­сто­я­ще­го из двух по­сле­до­ва­тель­но со­еди­нен­ных ре­зи­сто­ров, при раз­лич­ных зна­че­ни­ях со­про­тив­ле­ния ре­зи­сто­ра R2 и не­из­мен­ной силе тока I (см. рис.). С уче­том по­греш­но­стей из­ме­ре­ний (ΔR = ±1 Ом; ΔU = ±0,2 В) най­ди­те силу тока в цепи.

 

1)  120 мА

2)  20 мА

3)  35 мА

4)  50 мА


Ответ:

42
Тип Д12 B23 № 6315
i

На гра­фи­ке пред­став­ле­ны ре­зуль­та­ты из­ме­ре­ния на­пря­же­ния на кон­цах участ­ка AB цепи по­сто­ян­но­го тока, со­сто­я­ще­го из двух по­сле­до­ва­тель­но со­еди­нен­ных ре­зи­сто­ров, при раз­лич­ных зна­че­ни­ях со­про­тив­ле­ния ре­зи­сто­ра R2 и не­из­мен­ной силе тока I (см. рис.). С уче­том по­греш­но­стей из­ме­ре­ний (ΔR = ±1 Ом; ΔU = ±0,2 В) най­ди­те со­про­тив­ле­ние ре­зи­сто­ра R2, при ко­то­ром на­пря­же­ние на кон­цах участ­ка цепи АВ равно 4,5 В.

 

1)  50 Ом

2)  80 Ом

3)  65 Ом

4)  40 Ом


Ответ:

43
Тип Д12 B23 № 6982
i

Пла­ти­на  в сте­пе­ни левая круг­лая скоб­ка 200 пра­вая круг­лая скоб­ка _78Pt в ре­зуль­та­те од­но­го β–рас­па­да пе­ре­хо­дит в ра­дио­ак­тив­ный изо­топ зо­ло­та  в сте­пе­ни левая круг­лая скоб­ка 200 пра­вая круг­лая скоб­ка _79Au, ко­то­рый затем пре­вра­ща­ет­ся в ста­биль­ный изо­топ ртути  в сте­пе­ни левая круг­лая скоб­ка 200 пра­вая круг­лая скоб­ка _80Hg. На ри­сун­ках при­ве­де­ны гра­фи­ки из­ме­не­ния числа ато­мов с те­че­ни­ем вре­ме­ни. Какой из гра­фи­ков может от­но­сить­ся к изо­то­пу  в сте­пе­ни левая круг­лая скоб­ка 200 пра­вая круг­лая скоб­ка _79Au

 

1)  3

2)  2

3)  1

4)  ни один из гра­фи­ков


Ответ:

44
Тип Д12 B23 № 7078
i

На гра­фи­ке по­ка­за­на за­ви­си­мость мак­си­маль­ной ки­не­ти­че­ской энер­гии элек­тро­нов, вы­би­тых из ме­тал­ла при фо­то­эф­фек­те, от длины волны па­да­ю­ще­го света. Ки­не­ти­че­ская энер­гия фо­то­элек­тро­нов боль­ше нуля, но не пре­вы­ша­ет 15 эВ, если ме­талл осве­ща­ет­ся све­том с дли­ной волны

 

1)  200 нм

2)  150 нм

3)  50 нм

4)  25 нм


Ответ:

45
Тип Д12 B23 № 7868
i

В школь­ной ла­бо­ра­то­рии по­лу­че­на за­ви­си­мость на­пря­же­ния между кон­ца­ми про­вод­ни­ка от силы про­те­ка­ю­ще­го по нему по­сто­ян­но­го тока (см. рис.). Ка­ко­во при­мер­но со­про­тив­ле­ние этого про­вод­ни­ка по ре­зуль­та­там про­ве­ден­ных из­ме­ре­ний?

 

1)  960 Ом

2)  2,0 кОм

3)  540 Ом

4)  1,2 кОм


Ответ:
Завершить работу, свериться с ответами, увидеть решения.